江苏杜安环保内回流轴流泵QJB-W3/8产品说明:

A、内回流轴流泵QJB-W3/8的设计:
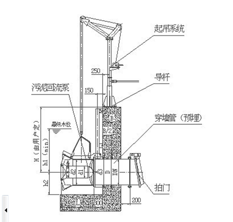
内回流轴流泵QJB-W3/8能处理污水和回流污泥。潜水回流泵可上下升降,方便的移动,检查或维修无需人员进入湿井。滑行杆支架作为水泵整体部件之一。
内回流轴流泵全部的重量受力在一个支架上,并且支架可承受水泵形成的推力。水泵、附件和电缆在10米水深无泄漏损失,可连续潜水运行。
内回流轴流泵QJB-W3/8为成套装置,包括主机设备、安装系统和起吊装置。安装系统由方钢导杆、顶部固定件和底部连接法兰等组成,可自由调整回流泵的提升和下降,并可在不排空水池的情况下拆卸和安装回流泵。回流泵装在一个可在导杆上滑动的支架上作为一个整体,该支架能够承受回流泵的整个重量和运行所产生的所有推力。导流环与穿墙管连接的一面设置有法兰和自耦卡口。连接法兰焊接在池壁的穿墙管上,包括在回流泵自动就位时起连接作用的自耦装置,以及固定导轨的插座。回流泵能在导轨引导下从池顶与连接法兰之间自由滑动,下降到位后通过导流环上的自耦卡口和连接法兰的自耦装置,自动稳固地与穿墙管连接。
导流环与连接法兰的密封为金属与金属之间的连接,依靠泵的自重压紧。整个回流泵包括支架的重量,以及运行所产生的推力和振动全部由穿墙管承担。回流泵和支架的任何部分均不直接与池底接触或放在池底的支座上。
起吊装置为可移动式,起吊装置安装在导轨系统的顶部固定件上,含有专用起吊钩、提升链和卷扬机。升降装置内配置有双向制动装置。每台回流泵提供电缆拉紧件和电缆夹,防止搅拌水流的波动而引起电缆破坏。安装支架和起吊装置的起吊臂均为AISI304不锈钢材质。提升链为不锈钢AISI316材质。地脚螺栓采用化学螺栓,以保证回流泵安装系统能够牢固而耐久的安装。潜水回流泵适应于市政污水的腐蚀环境。回流泵能够在全浸没条件下连续工作。同时能够适应连续运行、间歇运行(每小时较多启动次数能达到20次)和长期停止状态后恢复运行的工作状况。
B、杜安内回流轴流泵QJB-W3/8的构造:
杜安环保内回流轴流泵QJB-W3/8为潜水型整体设计,封闭式连接。回流泵所有的组件包括电机和齿轮箱都能够在水下连续运转。回流泵螺旋桨由潜水电机通过齿轮减速驱动。转动头部呈流线锥型,结构紧凑。回流泵带导流环与穿墙管法兰连接。除支架和叶片外,回流泵与液体接触的主要部件为灰口铸铁,DIN 1691 GG25,表面平整,无砂眼、气孔或其它缺陷。壳体厚度足以承受水压等荷载。所有的螺母、螺钉和垫圈均为AISI 316不锈钢。回流泵在需要水密密封的临界接触面上为机械加工面,采用金属与金属接触,并采用晴橡胶O形圈。回流泵及其附件和电缆,均能够连续浸没在较大深度为20米的水下而不会损失其水密性。
杜安环保内回流轴流泵QJB-W3/8外部所有与液体接触的铸铁表面应用高等级环氧防腐涂料体系保护,较小厚度320μ。
C、冷却系统:
电机能被周围搅拌介质充分冷却。
D、电缆进线密封:
电机配有潜水电缆,为包括控制和动力芯线的同一根电缆。电缆配备单独可靠的电缆进口。电缆的尺寸符合行业标准并提供足够的长度以接入接线盒或就地控制柜且不需拼接。电缆接入接线室使用可重复使用的双道压缩橡胶套密封,可保证电缆的快速更换。电缆出口为轴向,与电机壳外表面同向贴紧布置,同时用电缆夹将电缆固定在电缆拉紧件上,避免受水流冲击晃动,且不会在起吊时钩住。
电机和电缆均能在较大20米淹深下连续使用而不失去其防水性能。
E、齿轮箱及电机
杜安内回流轴流泵QJB-W3/8通过高效的行星齿轮箱传动。齿轮箱体与回流泵壳体成为一体,为流线锥形,表面与轮毂和电机壳平滑过渡,从而保证高度稳定性和良好的水力特性,提高回流泵整体效率。齿轮箱内配备高精度、高效率、低负载的单极行星齿轮,齿轮齿由高耐磨合金钢制成。齿轮箱内充油以润滑和冷却,并减少泄漏的影响。
设计使用寿命不低于100,000小时。
多极电机直接连接形成螺旋桨转速设计不被接收。
潜水电机是三相鼠笼式感应电机。电机的防护等级为IEC IP68级,绝缘等级为F级,155℃。潜水回流泵所配电机的额定功率保证回流泵在使用中不会发生过载。电机每小时启动次数20次。电机轴和转子经动、静平衡测试合格。电机设计用于在较高40℃(104F)环境下工作,能够浸入和连续泵送较高为40℃的液体,并且定子绕组的平均温升不超过80℃。为监控每相绕阻上的温度,在每相定子绕组线圈中装有热敏开关,热敏开关的设定打开温度为130℃,并接至控制柜,与控制继电器连接。
电机和电缆均能够在较大20米淹深下连续使用而不失去其防水性能(符合IP68防护等级)。潜水电机能够被周围泵送介质充分冷却,而不依赖冷却套或外部冷却系统。
F、轴承
潜水回流泵的电机轴由两个球轴承支撑,螺旋桨轴由两个圆锥滚柱轴承支撑,所有轴承采用长期脂润滑的高质量免维护轴承,能承受轴向和径向负载。所有轴承的设计寿命较小为100,000 小时。
G、机械密封
在内回流轴流泵QJB-W3/8齿轮箱和轮毂之间配备有一个机械密封和两个径向密封环,径向密封环置于青铜套管上,能对机械密封提供额外的保护,且方便更换。轴封系统包括一个密封油腔,机械密封安装于油腔中并在其中运行。电机室和齿轮箱之间也同样安装有一对径向密封环。机械密封为免维护的,并且在不影响密封功能的情况下,可以顺时针或逆时针转动。机械密封采用碳化硅材料,具有良好的机械强度和抵抗热冲击特点,介质酸碱度范围在4-10之间。
机械密封的设计使用寿命不行25,000小时。
H、水泵轴
电机轴和螺旋桨轴通过齿轮箱联接。轴由耐磨不锈钢制造,螺旋桨轴和电机轴均能承受所有轴向和径向荷载。螺旋桨轴受机械密封、O形圈和径向密封充分保护,与搅拌介质充分隔离,防止了腐蚀的发生,不接受直连形式。
I、螺旋桨
螺旋桨为三叶片式,与轮毂整体铸造,材质为AISI316Ti,设计用于处理常规污水。采用水力平衡的无缠绕自清洁设计。螺旋桨具有高效的水力性能。螺旋桨叶轮采用单键栓固定在轴的端部,采用保护帽进行密封,并应使用锁定垫圈系统。
J、导流环
回流泵的螺旋桨叶轮周围 360度 范围内装配有一圈导流环。导流环与穿墙管连接的一面设有法兰和自耦卡口。导流环材质为不锈钢AISI304。
K、电机保护
所有的电机中每相绕组都连接热敏开关,并串连。热敏开关在 130℃ 时动作, 电机停止转动并报警。
内回流轴流泵设置有泄漏传感器以探测密封油腔内的泄漏情况,防止水漏入电机造成损坏。泄漏传感器为电极式传感器,信号能够被专用保护继电器监测并在电机进水时发出报警信号。
内回流泵轴流专用保护继电器接受泄漏传感器的报警信号,并输出故障跳闸接点,以便自动切断电机电源停止电机。回流泵专用保护继电器安装于就地控制箱内,其电源要求为AC220
杜安环保内回流轴流泵QJB-W3/8出厂资料:江苏杜安环保杜安环保内回流轴流泵出厂提供以下资料(但不只小于这些):
A.详细的设备安装、使用、维护手册
B.详细的设备说明书,内容包括:
1.生产制造的标准。
2.详细结构说明,零部件结构图和装配图。
3.详细的外形尺寸(安装尺寸)图。
4.所有零部件材料表。
5.电气控制方面的详细说明或说明书与设计。
6.设备生产与出厂检验证书和检验记录及生产厂出具的设备鉴定书。
C.总平面图
表明内回流泵和电机的平面、立面和截面,并表明所有控制尺寸及安装、使用和维修所要求的间距等关系的总平面图。
D.详图
1.表明内回流轴流泵及其操作部分的所有组装附件的详细安装图。
2.表明内回流轴流泵与基础及地脚螺栓连接或焊接的详细安装图。
E.现场安装方法的详细说明。
F.现场检查、测试和试运行程序与记录。
G.供货装箱清单

江苏杜安环保内回流轴流泵安装说明:
安装说明:
江苏杜安环保严格按照安装使用说明和建议在图纸规定的位置进行安装,提供建议的设备保修期的运行所需油脂。地脚螺栓由杜安环保提供和安装,符合使用要求。
混凝土基础说明:
内回流轴流泵混凝土基础由土建供应商负责。杜安环保协调土建供应商以确保基础位正确。砼强度等级满足回流泵安装与运行的需要,除非有其他的规定,基础螺栓在灌浆时正确放置。
工厂涂漆说明:
A.涂漆之前,所有设备表面充分清扫、干燥,除去油脂、铁锈、泥土和其他的表面污垢。
B.所有内回流轴流泵,电机和其他的驱动设备都根据本规范要求在工厂涂一层底漆和面漆,将来运行时将与污水直接接触的表面进行可靠的防腐处理。









