品牌:杜安
电压:380V
轴承:NSK
电流:10.2A
起订:1件
供应:500件
发货:3天内

杜安环保QJB潜水搅拌机结构与材料说明:
结构:
(1)潜水搅拌机是能够整体密封设计、潜水型。所有部件,包括电机、齿轮箱和叶轮等,都应能够在下列水下条件下长时间、连续运行:介质温度0~40℃、介质pH值在4~10之间、动态粘滞度在7~23×10-6之间、轴承和密封处升温不得高于35℃、介质密度≤1.1×103kg/m3。
(2)潜水推流器,潜水搅拌器具有足够的搅拌或推流功能,保证池内污泥能充分混合,确保池底流速≥0.3m/s,并保证潜水推流器/搅拌器在任何工况条件下不过载。
(3)潜水搅拌器水平安装以确保水在流动过程中固、液均匀分布,并防止固体沉淀。
(4)潜水搅拌机能在全浸没的条件下连续运行、间歇运行和长期停止状态后恢复运行,在整个运行过程中须保持无振动平稳运行,运行时间至少为10000小时。
(5)潜水搅拌机附件和电缆在20m水深无泄漏损失,可连续潜水。
(6)潜水搅拌机的所有旋转零件应在制造时进行动平衡试验,精度应不低于ISO940 G6.3级。
(7)轴承采用高质量的终身润滑轴承,采用SKF或FAG品牌的进口产品,轴承使用寿命(L10)大于100000小时。
(8)机械密封碳化钨和氟橡胶密封组件,抗腐蚀性强,使用寿命增加。
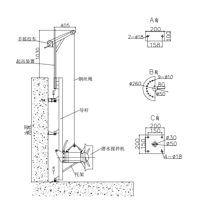
提升导杆带有焊接的底座,高度适合将潜水推流器/搅拌器牢固地提升出池面。导杆顶部应配备锁定平台,平台可提供导杆一个特殊的转角。每台潜水搅拌机配备便于安装的支架,支架可在180度范围内旋转。
4.9.2 材料
A.所有材料须过硬、种类的高质量材料,这些材料是制造厂较新使用而非淘汰产品,没有任何缺陷和不良,适用于设备的连续运转。
B.除须提供给业主所有与之合作提供这些设备和材料的生产厂家名称及所供设备的性能和有关附属资料外,在特殊情况下,还须提供为验证和承认的设备或材料样品,未被承认的产品不能装配和使用。
C.江苏杜安环保QJB潜水搅拌机与潜水推流器制造工艺必是现代严格的标准和较高水准。
D.潜水搅拌机主要零件材料应符合以下要求:
|
主要零部件名称 |
材料种类 |
|
电机壳 |
铸铁DIN1691GG25 |
|
螺旋桨 |
搅拌器为不锈钢AISI304球墨铸铁衬筋强化聚氨酯 |
|
轴 |
不锈钢DIN16NiMo4 |
|
机械密封 |
碳化硅/碳化硅 |
|
与介质接触的螺栓、螺母和垫圈 |
不锈钢,SS316 |
|
安装支架及提升装置 |
不锈钢,SS304 |
说明:表面防腐高等级环氧防腐涂料体系保护,较小厚度320m
所有设备的全部材料适用于污水腐蚀环境。材质为304不锈钢或316不锈钢。

潜水推流搅拌机防止污泥沉淀 QJB5/12-620/3-480出厂试验说明:
每台江苏杜安环保潜水搅拌机在出厂之前进行如下试验(但不限于这些):
A.所有潜水搅拌机在制造过程中以及出厂发运前应检查与试验,包括材料、铸件、部件的检验,搅拌机的出厂前试验等。
B.潜水搅拌机的材料试验主要指叶轮、轴等主要部件的材料试验的理化分析,以验证其是否符合本技术规定的标准。
C.电机定子绕组对机壳的绝缘电阻的测定。
D.电机空载电流和空载损耗的确定。
E.耐电压试验。
F.匝间绝缘耐冲击电压试验。
潜水搅拌机安装:
潜水搅拌机安装说明:
江苏杜安环保QJB潜水搅拌机,潜水推进器严格按照生产厂家的说明和建议在图纸规定的位置进行安装,提供厂家建议的设备保修期的运行所需油脂。地脚螺栓提供和安装,并符合生产厂家的要求。
混凝土基础
潜水搅拌机基础由土建供应商负责。协调土建供应商以确保基础位正确。砼强度等级满足搅拌机安装与运行的需要,除非有其他的规定,基础螺栓在灌浆时正确放置。

杜安环保潜水搅拌机生产说明:
A.材质为304不锈钢或316不锈钢;
B.潜水搅拌机为整体式防水设计,湿式安装,鼠笼式感应电机驱动。
C.设备按照较佳方法设计、制造、安装,按照图纸安装以后运行良好;
D.有实际需求时,可超负荷运行(能承受至少10%的过载量);
E.潜水搅拌机具备自动清洁的功能,可防杂物缠绕、堵塞;
F.共用电动机轴,支撑自润滑(油脂润滑)抗磨轴承;轴不得与介质接触;
G.导向杆组件,带导向杆上部和下部固定装置,导向杆和固定装置须可以根据池的几何形状对推力的方向、角度、和水平进行调节;
H.电机为三相异步潜水电机、400V或380V、50Hz、交流电源,设防干转保护(执行标准DIN/VDE0530),符合IEC标准;防护等级为IP68,H级绝缘等级;电动机可在全浸没的状态下进行外部冷却,电机的温度控制由热敏开关进行保护;
I.电缆进线带保护橡胶套,电缆外皮、单根电缆以及剥去绝缘的电缆芯线分别进行密封,以防止液体渗漏。
J.电缆带固定装置。







